产品介绍

|
|
支撑系统 Pole-mounted System |
堆叠系统 Ground Stack with LF Cardioid Pattern |
吊挂系统 Full-bandwidth Flown System with LF Cardioid Pattern |
|
单侧系统 组成 |
M-F3A PRO/ M-F3A x 2 |
- M-F3A PRO/ M-F3A x 4 |
-M-F3A PRO/ M-F3A x 8 |
|
S12 PRO x 1 |
S12 PRO x 3 |
S12 PRO x 6 | |
|
M-F3A UB x 1 |
M-F3A SFi S12 x 1 |
M-F3A BF x 1 | |
|
SPS 20 x 1 |
|
| |
|
系统特点 |
1. 迷你型全频系统; 2. 极其简易的运输与搭建; 3. 亦可用作舞台返送系统 |
1. 免于吊挂施工的系统解决方案; 2. 低频区能量可实现指向控制; 3. 亦可用作舞台返送系统 |
1. 两分频式全频段扩声系统; 2. 低频区能量可实现指向控制; 3. 高声压级下保证远距离投射与宽角度覆盖 |
|
适用场合 |
-小型场地 -会议室 -多功能厅 -小型咖啡馆与酒吧 |
-中型音乐厅 -小型户外节日 -夜店、咖啡厅与酒吧 -于大型舞台或体育场用作舞台侧返系统 |
-大型剧场剧院 -大型音乐厅等演出场所 -中大型户外音乐会与节日活动 |
系统模拟与响应表现:
|
|
支撑系统 Pole-mounted System |
堆叠系统 Ground Stack with LF Cardioid Pattern
|
吊挂系统 Full-bandwidth Flown System with LF Cardioid Pattern
|
|
立体声 系统设置 |
听音区为15 x 30米 左右系统间距4米 支撑高度2米 |
听音区为25 x 50米 左右系统间距10米 落地堆叠 |
听音区为35 x 70米左右系统间距12米 吊挂高度5米 |
|
系统响应 |
-轴向声压级96 dBZ(25米处测量) -平均声压级99±4 dBZ -频率响应40Hz-18kHz(-6 dB) -可满足带有150个座位的演出场合 |
-轴向声压级94 dBZ(45米处测量) -平均声压级96±3 dBZ -频率响应40Hz-18kHz(-6 dB) -可满足带有400个座位或700人站立的演出场合 |
-轴向声压级97 dBZ(65米处测量) -平均声压级100±5 dBZ -频率响应40Hz-18kHz(-6 dB) -可满足带有600个座位或1000人站立的演出场合 |

支撑系统响应模拟

堆叠系统响应模拟

吊挂系统响应模拟
组装与应用:
一、支撑系统:
- M-F3AUB:U型托盘
-SPS20:支撑杆
搭配这两个配件,能够将1-2只M-F3A或M-F3A PRO安装在 SE Audiotechnik品牌的任意低音音箱上

正式开始系统搭建前,确保完成以下步骤的检查:
1. 准备好所需要的全部电源线与信号线。
2. 调整每只M-F3A或M-F3A PRO音箱背后的LEVEL数值一致。
3. 调整每只M-F3A或M-F3A PRO音箱背后的LINE UNIT数值一致
4. 调整SPS 20的长度至合适听音高度,并确认拧紧螺丝
开始安装:
1. 将S12 PRO低音音箱放置在指定的位置上,确保地面平坦,保证安全;
2. 将SPS 20支撑杆组装在S12 PRO上,保证螺丝连接处拧紧;
3. 将M-F3A UB U型托盘组装在支撑杆上,保证螺丝连接处拧紧;
4. 放置第一个M-F3A 或M-F3A PRO 有源音箱于U型托盘上,并使用音箱面板两侧带有安全绳的插销,将音箱与U型托盘固定;
5. 调整音箱的朝向角度,并使用音箱背板的安全插销与U型架固定。
6. 如需拓展,可重复步骤4步骤5,在原有的音箱之上增加一个同型号音箱。
7. 完成最后一只音箱的安装后锁上安全插销;
8. 稍微拧松支撑杆上螺丝以调整支撑杆的长度,获得理想的听音高度,别忘记在固定了高度后重新拧紧螺丝;
9. 连接适配的电源线与信号线,并打开音箱开关。

支撑系统安装图解
初步DSP调整:
1. 在S12 PRO的内置DSP上,调用工厂默认预设:
-若搭配M-F3A有源音箱使用,即调用MF3A
-若搭配M-F3A PRO有源音箱使用,即调用MF3AP
2. 将每只M-F3A PRO背后的LINE UNITS旋钮选至2(取决于使用的箱体数量)

Menu> DSP Settings > Preset Library > Preset Loading
二、堆叠系统
-M-F3ASFi S12:堆叠转接架
该配件能够将3-4只M-F3A或M-F3A PRO堆叠在一只S12 PRO上,
或通过该配件直接堆叠在地面上。

正式开始系统搭建前,确保完成以下步骤的检查:
1 准备好所需要的全部电源线与信号线。
2 调整每只M-F3A或M-F3A PRO音箱背后的LEVEL数值一致。
3 根据使用的音箱数量,调整每只M-F3A或M-F3A PRO音箱背后的LINEUNIT数值一致。
开始安装:
1. 第一只S12 PRO低音音箱反转方向放置在指定的位置上,确保地面平坦,保证安全。
2. 第二只S12 PRO正向堆叠在第一只S12 PRO上方,锁定两侧锁扣。
3. 重复步骤2
4. 放上M-F3A SFi S12堆叠架,并与S12 PRO两侧锁扣锁定。
5. 放上一只M-F3A或M-F3A PRO音箱。
6. 锁定M-F3A或M-F3A PRO前面板两侧的安全插销。
7. 调整M-F3A或M-F3A PRO背后角度,锁定安全插销。
8. 重复步骤5-7,直至达到理想的音箱堆叠数量。

堆叠系统安装图解
S12 PRO在进行堆叠使用时,顶部的凹槽与底部的橡胶垫片,以及箱体两侧的SE特有锁扣结构,保证了堆叠系统的安全性与稳定性。
尤其是两侧特有的锁扣结构呈现对角线分布,便于正向或反向堆叠安装,遵循以下步骤进行操作:
1. 拉出锁扣的拉杆部分
2. 上移至对应箱体的锁扣凹槽位置
3. 松开栏杆进行锁定,完成后尝试移动箱体位置检查安全性与稳定性

SE two-point 堆叠结构
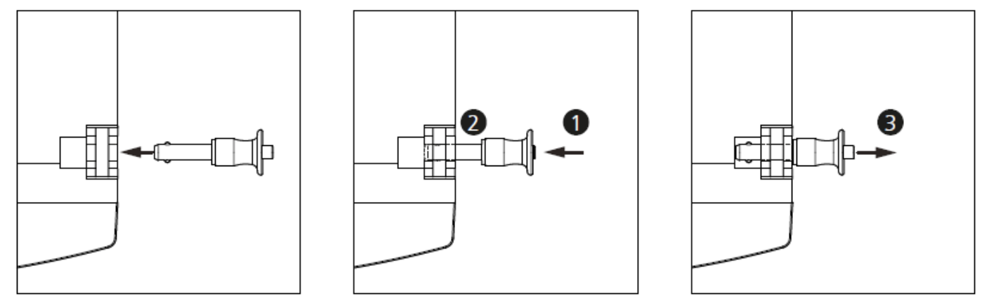
M-F3A和M-F3A PRO带有安全插销用于箱体连接,每只安全插销内均带有6mm不锈钢挡珠,用于箱体之间的安全锁定,遵循以下步骤正确使用:
1. 按住安全插销尾部,收起档珠
2. 插入安全插销
3. 松开步骤1中按住的挡珠进行锁定,尝试拉出插销检查是否正确锁定。

安全插销使用图解
初步DSP调整:
在朝前放置的S12 PRO的内置DSP上,调用工厂默认预设:
-搭配M-F3A有源音箱,调用MF3A
-搭配M-F3A PRO有源音箱,调用MF3AP
在朝后放置的S12 PRO的内置DSP上,调用工厂心型预设:
-搭配M-F3A有源音箱,调用MF3AC
-搭配M-F3A PRO有源音箱,调用MF3APC
将每只M-F3A PRO背后的LINEUNITS旋钮选至3或4,该旋钮的数值取决于使用的M-F3A PRO的音箱数量
(温馨提示:如您现在使用的S12 PRO 的DSP预设菜单中,没有对应心型低音设置的工厂预设,请查看您的工厂固件版本并及时联系各地代理商升级至20190624之后的最新版本,已获得更佳的使用体验。)

Menu> System Settings >SW Information >FW
三、吊挂系统
-M-F3ABF:吊挂配件
M-F3A BF最大可承重2,700kg,其安全系数可保证不多于16个M-F3A或M-F3A PRO的线阵列吊挂。在实际吊挂中可根据需要选择单吊点或双吊点的吊挂方式。
单吊点的情况下,线阵列的倾斜角度依赖于不同吊点下物理重心的改变,其结果亦可在EaseFocus中进行模拟预判;
双吊点的情况下,线阵列整体的角度调整范围更大,调整精度更多,可运用在大型的户外演出系统中。

正式开始吊挂操作前,确保完成以下步骤的检查:
1. 准备好所需要的全部电源线与信号线,并提前连接
2. 根据线阵列的音箱数量,调整音箱背后的LINE UNITS旋钮数值
3 将线阵列中所有音箱背后的LEVEL旋钮调至同样数值,并打开背后的电源开关
开始吊挂:
1. 将M-F3A BF吊件固定在起重葫芦上,使用合适的绑带连接吊点。
2. 上升M-F3A BF吊件至方便操作的高度,并连接上第一只M-F3A或M-F3A PRO音箱,确保前后的安全插销都固定好。
3. 将第一只音箱与M-F3A BF吊件之间的角度使用安全插销固定在0°。
4. 如有需要,可稍微上升起重葫芦至方便操作的高度。
5. 添加第二只同系列音箱于第一只音箱下方,并使用前面板两侧的安全插销进行固定。
6. 取出音箱背面板中隐藏折叠的插条部分。
7. 调整音箱之间张角,并将上方音箱的插条与下方音箱的刻度孔使用安全插销进行固定。
8. 为添加的音箱连接所需要的电源线与信号线。
9. 重复步骤4-8直至整个线阵列系统吊挂且连接完毕。
10.将线阵列升至目标高度之前,确保对以下五点进行检查:
a. M-F3A BF吊挂配件:确保其与起重葫芦和第一只音箱正确连接
b. 吊点与安全插销:确保其使用正确且固定到位
c. 音箱之间张角:再次检查各个角度是否与设计系统时一致
d. 接头:仔细检查电源线、信号线的连接情况
e. 音箱背板设置:再次检查所有的音箱开关都处于打开状态,每只音箱的LEVEL数值一致,每只音箱的LINE UNITS数值一致。

吊挂系统安装图解
-
- 上一篇: 【视频教学】教你玩转DIY复古音箱——音浪魔盒
- 下一篇: SE 产品标称参数变更通知函